巨奢网 资讯 名表 查看内容

2020年新版会计科目表

2024-4-16 09:06| 发布者: 挖安琥| 查看: 234| 评论: 0

放大 缩小
简介:身为会计人,周而复始的重复着一件工作——记账结账,很多“外行人”觉得,记账不是挺简单的吗?写清楚收支不就结了?!你要是这么想就错了,身为会计人,还需要掌握所有的会计科目,一旦科目记错了,税务申报也会跟着 ...

身为会计人,周而复始的重复着一件工作——记账结账,很多“外行人”觉得,记账不是挺简单的吗?写清楚收支不就结了?!你要是这么想就错了,身为会计人,还需要掌握所有的会计科目,一旦科目记错了,税务申报也会跟着被影响,很可能导致涉税风险。所以会计人,实时掌握最新会计科目是非常有必要的。那么,2020年新版会计科目表是什么样的?跟小编一起往下看看吧!

2020年新版会计科目表


2020年最新会计科目表:


一、资产类

2020年新版会计科目表


二、负债类

2020年新版会计科目表


三、共同类

2020年新版会计科目表


四、所有者权益类

2020年新版会计科目表


五、成本类

2020年新版会计科目表


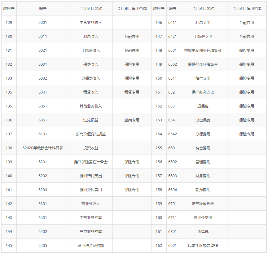
六、损益类

2020年新版会计科目表


以上就是小编给大家带来的关于会计科目——2020年新版会计科目表相关内容分享,那么,这么多常用会计科目怎么样才能牢记它们呢?欢迎大家一起讨论呀~



路过

雷人

握手

鲜花

鸡蛋
已有 0 人参与

会员评论

最新文章

文章列表

 名表回收网手机版

官网微博:名表回收网服务平台

今日头条二维码 1 微信公众号二维码 1 抖音小程序二维码 1
浙江速典奢贸易有限公司 网站经营许可证 备案号:浙ICP备19051835号2012-2022
名表回收网主要专注于手表回收,二手名表回收/销售业务,可免费鉴定(手表真假),评估手表回收价格,正规手表回收公司,浙江实体店,支持全国范围上门回收手表
返回顶部